Например TDA7294

Форум РадиоКот • Просмотр темы - Винил-корректор
Форум РадиоКот
Здесь можно немножко помяукать :)

Текущее время: Чт дек 18, 2025 06:50:13

Часовой пояс: UTC + 3 часа


ПРЯМО СЕЙЧАС:



Начать новую тему Ответить на тему  [ Сообщений: 158 ]    , , , 4, , , ,  
Автор Сообщение
Не в сети
 Заголовок сообщения: Re: Винил-корректор
СообщениеДобавлено: Вс май 17, 2015 11:23:25 
Друг Кота
Аватар пользователя

Карма: 127
Рейтинг сообщений: 6124
Зарегистрирован: Вс дек 25, 2011 18:43:00
Сообщений: 24323
Откуда: г.Москва
Рейтинг сообщения: 0
radiokote писал(а):
Надо придумать для него коробок... А, может, 2 коробка? БП и всё остальное - отдельно... :dont_know:

Главное, чтобы эти коробки не оказались больше самой Мелодии... :) ...я ж вам предлагал развести плату Галаховкого доработанного корректора под экран от СКМ-24 (примерно пачка сигарет), такой же БП на торе с магнитной экранировкой, засунете все добро в корпус мелодии и будет вам счастье...из плюсов - относительно короткий соединительный кабель с mm головкой с наименьшим импедансом и соотв. минимум помех и наводок... :dont_know:


Вернуться наверх
 
Не в сети
 Заголовок сообщения: Re: Винил-корректор
СообщениеДобавлено: Вс май 17, 2015 11:28:30 
Нашел транзистор. Понюхал.
Аватар пользователя

Карма: 6
Рейтинг сообщений: 26
Зарегистрирован: Сб май 02, 2015 18:43:30
Сообщений: 169
Рейтинг сообщения: 0
ssc писал(а):
не оказались больше самой Мелодии...

Не окажутся. Я ж в питание не ТС270 собираюсь сунуть :)))
ssc писал(а):
я ж вам предлагал развести плату Галаховкого доработанного корректора под экран от СКМ-24

Спасибо за предложение, но я себе уже поставил цель. Конечно, проще взять микросхему и несколько транзисторов, но это - не мой путь :))


Вернуться наверх
 
Не в сети
 Заголовок сообщения: Re: Винил-корректор
СообщениеДобавлено: Вс май 17, 2015 11:31:52 
Опытный кот

Карма: -14
Рейтинг сообщений: 22
Зарегистрирован: Вс ноя 09, 2008 12:10:59
Сообщений: 796
Откуда: Москва
Рейтинг сообщения: 0
такой же БП на торе с магнитной экранировкой,

Учитывая невысокое напряжение питания и малые токи потребления, прямой резон питать от аккумуляторов. Более "чистого" питания - еще поискать.

_________________
Объём энтузиазма обратно пропорционален объёму накопленных знаний и опыта.


Вернуться наверх
 
Не в сети
 Заголовок сообщения: Re: Винил-корректор
СообщениеДобавлено: Вс май 17, 2015 11:44:01 
Друг Кота
Аватар пользователя

Карма: 127
Рейтинг сообщений: 6124
Зарегистрирован: Вс дек 25, 2011 18:43:00
Сообщений: 24323
Откуда: г.Москва
Рейтинг сообщения: 0
tataff писал(а):
Учитывая невысокое напряжение питания и малые токи потребления, прямой резон питать от аккумуляторов. Более "чистого" питания - еще поискать.

С одной стороны - 2 по 15В (Галахов), с другой - у меня приятель так и делает, когда цифрует редкие записи.


Вернуться наверх
 
Эиком - электронные компоненты и радиодетали
Не в сети
 Заголовок сообщения: Re: Винил-корректор
СообщениеДобавлено: Вс май 17, 2015 11:49:37 
Опытный кот

Карма: -14
Рейтинг сообщений: 22
Зарегистрирован: Вс ноя 09, 2008 12:10:59
Сообщений: 796
Откуда: Москва
Рейтинг сообщения: 0
Правильно делает. И в ламповой технике (в том числе промышленной, особенно измерительной) сеточные смещения вовсю запитывали от батареек и все отлично работало годами :)))
Лично я для этой цели использовал другое решение, но это мое ноу-хау.

_________________
Объём энтузиазма обратно пропорционален объёму накопленных знаний и опыта.


Вернуться наверх
 
Не в сети
 Заголовок сообщения: Re: Винил-корректор
СообщениеДобавлено: Вс май 17, 2015 11:52:04 
Друг Кота
Аватар пользователя

Карма: 127
Рейтинг сообщений: 6124
Зарегистрирован: Вс дек 25, 2011 18:43:00
Сообщений: 24323
Откуда: г.Москва
Рейтинг сообщения: 0
Он лампу с моей подачи не признает как класс...разубедил я его раз и навсегда.. :)


Вернуться наверх
 
Не в сети
 Заголовок сообщения: Re: Винил-корректор
СообщениеДобавлено: Вс май 17, 2015 11:59:07 
Опытный кот

Карма: -14
Рейтинг сообщений: 22
Зарегистрирован: Вс ноя 09, 2008 12:10:59
Сообщений: 796
Откуда: Москва
Рейтинг сообщения: 0
И это тоже - правильно, высокочувствительные малошумящие усилители НЧ (как впрочем и всех остальных диапазонов) следует делать только на п/п. А лампы вне конкуренции только в мощных передатчиках - там транзисторы отдыхают :)))

_________________
Объём энтузиазма обратно пропорционален объёму накопленных знаний и опыта.


Вернуться наверх
 
Не в сети
 Заголовок сообщения: Re: Винил-корректор
СообщениеДобавлено: Вс апр 07, 2019 03:53:01 
Опытный кот
Аватар пользователя

Карма: 19
Рейтинг сообщений: 26
Зарегистрирован: Ср мар 15, 2017 23:40:22
Сообщений: 898
Рейтинг сообщения: 0
Здравствуйте, вроде бы тема про фонокорректоры, по этому надеюсь здесь найти помощь в моей проблеме:

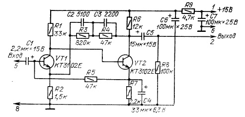
Недавно купил проигрыватель Ария-102 в нормальном состоянии - вроде бы работает и головка с иглой нормальные. Где-то год уже думаю сделать нормальный ламповый усилитель, но работы запланированы на следующий год (даже не спрашивайте почему), а до этого времени проигрыватель всё-же хочется слушать. Для этого мной был собран предусилитель для на кт3102. Здесь я не очень то и гонюсь за качеством (Главное что бы не фонило и было всё нормально слышно), так как эта мера временная.
Схема: Изображение
Короче, блок питания на LM7815. (пробовал от батареек - нет разницы) Что интересно, когда головка не подключена - абсолютная тишина, фона нет. Как только подключаю головку - неимоверный фон. Здесь корпус - это земляная токоведущая шина; подключение осуществляется к корпусу в двух местах (пробовал и в одном - на фон эффекта нет). Что делать?

Фотки сборки:
Изображение Изображение Изображение Изображение

_________________
Андрей осторожно взял у нее коробочку и с удивлением
убедился, что это радиоприемник.
- Вот это да! - пробормотал он - Неужели детекторный?
(братья Стругацкие, Град обреченный)


Вернуться наверх
 
Не в сети
 Заголовок сообщения: Re: Винил-корректор
СообщениеДобавлено: Вс апр 07, 2019 04:25:27 
Друг Кота
Аватар пользователя

Карма: 127
Рейтинг сообщений: 6124
Зарегистрирован: Вс дек 25, 2011 18:43:00
Сообщений: 24323
Откуда: г.Москва
Рейтинг сообщения: 0
/-/ekit писал(а):
Что делать?

..либо питающий транс перематывать+экранировать, либо питать только от батареек - это с транса наводка на магнитную головку..

..я вот ща, к примеру, в 220-й Яузе транс перемотал - тишина полная, даже без экрана..а был фон - просто жуть..суть одна и та же - чувствительная у магнитному полю головка хорошо принимала наводку с транса..


Вернуться наверх
 
Не в сети
 Заголовок сообщения: Re: Винил-корректор
СообщениеДобавлено: Вс апр 07, 2019 04:32:42 
Опытный кот
Аватар пользователя

Карма: 19
Рейтинг сообщений: 26
Зарегистрирован: Ср мар 15, 2017 23:40:22
Сообщений: 898
Рейтинг сообщения: 0
Кстати, когда я включаю мотор проигрывателя то гул ещё больше становится. Самое интересное, что при питании от батареек и без корпуса наводок небыло. Я конечно могу плату к досточке прикрутить и питать от батареек, но всё таки как-то в корпусе и от сети лучше и не так глаз мазолит... А собственно в чём заключается перемотка и как осуществляется экранировка трансформатора?

_________________
Андрей осторожно взял у нее коробочку и с удивлением
убедился, что это радиоприемник.
- Вот это да! - пробормотал он - Неужели детекторный?
(братья Стругацкие, Град обреченный)


Вернуться наверх
 
Не в сети
 Заголовок сообщения: Re: Винил-корректор
СообщениеДобавлено: Вс апр 07, 2019 05:51:36 
Опытный кот
Аватар пользователя

Карма: 13
Рейтинг сообщений: 163
Зарегистрирован: Сб дек 22, 2012 08:17:42
Сообщений: 744
Откуда: Караганда, Казахстан
Рейтинг сообщения: 0
Во-первых, следует убедиться, что это именно наводка магнитного поля на головку, а не, допустим, модуляционная помеха.Проверяется не очень сложно: надо повертеть трансформатор в пространстве, если это магнитная наводка, фон будет меняться и можно даже будет найти положение транса, в котором он почти пропадет. Это, конечно, не выход - положение головки ведь непостоянно, а компенсация возможна только в одной точке, а не в области пространства. И, если помеха действительно от магнитного поля, мотать новый транс на сердечнике ШЛ или ПЛ, с тщательным соблюдением рекомендаций по снижению индуктивности рассеяния. А экранировать транс в домашних условиях бесполезно, хороший экран дома не сделаешь.

Впрочем, сначала стоит отсечь вариант с модуляционной помехой - прицепить параллельно каждому из диодов каждого из выпрямителей по плёночному конденсатору 0.1 мкФ с рабочим напряжением в 3-4 раза больше, чем переменное напряжение на соответствующих обмотках транса.

Добавлено after 7 minutes 30 seconds:
А помеха, похоже, таки модуляционная - это я фотки поразглядывал. 4 плёночных конденсатора 0.1 мкФ х 100 В спасут отца русской демократии. Можно даже два - с каждого из концов обмотки транса на землю, должно помочь. Но лучше, все-таки, 4.

Добавлено after 21 minute 29 seconds:
А еще надо переделать (заменить) шнурок от проигрывателя. Шнурок должен быть четырехпроводным, экранированным попарно - два экранированных шнурка по два провода в зкране в каждом. По двум проводам одного шнурка отдаешь оба вывода одной катушки головки, по двум проводам второго - выводы второй катушки. Экран с обеих сторон соединяешь только с кузовом. Обмотки головок с кузовом не соединяются, их подключение к линии 0 вольт должно быть только на плате усилителя. Этим отсекаются возможные помехи за счет падения напряжений на сопротивлениях и (главное) индуктивностях экранов шнура и прочих заземляющих проводов.

_________________
Кто мешает тебе выдумать порох непромокаемый? (К. Прутков, мысль № 133)


Вернуться наверх
 
Не в сети
 Заголовок сообщения: Re: Винил-корректор
СообщениеДобавлено: Вс апр 07, 2019 12:58:08 
Друг Кота
Аватар пользователя

Карма: 127
Рейтинг сообщений: 6124
Зарегистрирован: Вс дек 25, 2011 18:43:00
Сообщений: 24323
Откуда: г.Москва
Рейтинг сообщения: 0
/-/ekit писал(а):
А собственно в чём заключается перемотка и как осуществляется экранировка трансформатора?

..в увеличении количества витков..


Вернуться наверх
 
Не в сети
 Заголовок сообщения: Re: Винил-корректор
СообщениеДобавлено: Вс апр 07, 2019 13:34:37 
Опытный кот
Аватар пользователя

Карма: 13
Рейтинг сообщений: 163
Зарегистрирован: Сб дек 22, 2012 08:17:42
Сообщений: 744
Откуда: Караганда, Казахстан
Рейтинг сообщения: 0
Ерунда, блок усилителя внешний, его можно отставить достаточно далеко. См. фото. А транс без экрана между первичкой и вторичкой, самое то для возникновения модуляционных помех.

_________________
Кто мешает тебе выдумать порох непромокаемый? (К. Прутков, мысль № 133)


Вернуться наверх
 
Не в сети
 Заголовок сообщения: Re: Винил-корректор
СообщениеДобавлено: Вс апр 07, 2019 14:23:28 
Друг Кота
Аватар пользователя

Карма: 127
Рейтинг сообщений: 6124
Зарегистрирован: Вс дек 25, 2011 18:43:00
Сообщений: 24323
Откуда: г.Москва
Рейтинг сообщения: 1
..глупости пишите, смешали в кучу и мух, и котлеты..

..экран в трансе между первичкой и вторичкой - по большому счету, электростатический, его основная задача - исключить помехи, проникающие из сети из-за межобмоточной емкостной связи...все - больше никаких плюсов от его наличия нет..точно так же, с этими помехами разберется двухзвенный сетевой сетевой фильтр перед трансформатором питания, но реализация такого фильтра обойдется дороже, чем один слой медного (или еще какого) провода между обмотками..

..т.е, о ни о какой эмм.."модуляции" тут не может идти речи вообще, совершенно непонятно, к чему вы ее тут вообще приплели..

..идем дальше - магнитная головка, будь то в магнитофоне или винилкорректоре - элемент, чувствительный к магнитной же (подчеркиваю - именно к магнитной , а не электрической) составляющей поля трансформатора.

..суть проблемы, кратко: при подключении к сети даже не нагруженного т-ра в его первичной обмотке будет протекать некоторый ток холостого хода, который создаст в магнитопроводе магнитное поле. В соотв. с законом Фарадея оно наведет в первичной обмотке ЭДС самоиндукции, пропорционально числу витков и скорости изменения магнитного потока. ЭДС самоиндукции почти равна приложенному к первичной обмотке напряжению и компенсирует его, иначе через обмотку протекал бы непомерно большой ток, поскольку активное сопротивление обмотки как правило, не велико. Магнитная же индукция, в свою очередь, зависит от магнитной проницаемости и материала магнитопровода и напряженности поля, а вот напряженность поля уже связана с током в обмотке, который, в свою очередь, связан с числом витков.. :)..усугубляет проблему низкое качество материала сердечников СССР-овских трансформаторов..

..желающим - могу дать для ознакомления статью, подробно, с формулами..

afz писал(а):
блок усилителя внешний, его можно отставить достаточно далеко

..метр-полтора или более.. :)

..я тут уже писал про случай из личной практики..сели отцифровать пару дисков, есть фон - не можем понять, откуда..не сказать, что сильный, но его явно слышно..начали по очереди отключать все дивайсы - отключили У101, который стоял разобранным чисто на мониторном контроле - фон пропал..чиста по приколу, для того, чтобы понять, насколько критично расстояние, на которое надо удалить 101-й для пропадания этого фона - пришлось вынести его из комнаты.. :)


Вернуться наверх
 
Не в сети
 Заголовок сообщения: Re: Винил-корректор
СообщениеДобавлено: Вс апр 07, 2019 14:30:17 
Модератор
Аватар пользователя

Карма: 159
Рейтинг сообщений: 4072
Зарегистрирован: Пт янв 23, 2009 19:20:05
Сообщений: 45188
Рейтинг сообщения: 1
Медали: 1
Получил миской по аватаре (1)
Вертушку от усилителя-корректора далеко отнести не удастся: параметры соединительного кабеля, в том числе - ёмкость, нормированы... А вот блок питания ни что не мешает убрать хоть в соседнюю комнату... :)


Вернуться наверх
 
Не в сети
 Заголовок сообщения: Re: Винил-корректор
СообщениеДобавлено: Вс апр 07, 2019 15:08:19 
Друг Кота
Аватар пользователя

Карма: 127
Рейтинг сообщений: 6124
Зарегистрирован: Вс дек 25, 2011 18:43:00
Сообщений: 24323
Откуда: г.Москва
Рейтинг сообщения: 0
..дык корректор можно вапще засунуть в вертак и запитать от его же источника - в веге той, если мне память не изменяет, вапще тор стоит, он однозначно будет лучше..


Вернуться наверх
 
Не в сети
 Заголовок сообщения: Re: Винил-корректор
СообщениеДобавлено: Вс апр 07, 2019 16:14:35 
Опытный кот
Аватар пользователя

Карма: 13
Рейтинг сообщений: 163
Зарегистрирован: Сб дек 22, 2012 08:17:42
Сообщений: 744
Откуда: Караганда, Казахстан
Рейтинг сообщения: 0
:) Товарищи не понимают.

Объясняю.

Шнурок от проигрывателя к усилителю-корректору, кроме всего прочего, работает еще и антенной. На нем наводится какие-то радиосигналы, которых в городе валом. Сетевой шнур - тоже антенна. Или, скорее, противовес. На нем тоже что-то наводится. Только вот оно ведет себя по-разному в разные моменты времени. На вершинах синусоиды, когда диоды выпрямителя открыты, этот противовес через межобмоточную емкость подключен к кузову преда, а в остальное время, когда диоды закрыты, эта цепь, что называется, висит в воздухе. Таким образом, за период сетевого напряжения дважды меняется эффективность этой самой системы "антенна-противовес". И, соответственно, наведенное ВЧ-напряжение оказывается сильно промодулированным по амплитуде. Далее оно детектируется на нелинейностях схемы и рычит в динамиках.

Лекарство от этого давно известно. Это, во-первых, экран между сетевой и вторичными обмотками. Его ставят для борьбы именно с этим эффектом, а не для отсечения каких-то мифических помех из сети. Во-вторых, от этой беды помогает шутирование диодов конденсаторами такой емкости, чтобы их ёмкостное сопротивление на ВЧ оказалось меньше, чем сопротивление открытого диода, ну, или, хотя бы, одного с ним порядка. Тогда "противовес" оказывается подключенным постоянно и модуляции ВЧ-наводок сигналом 100 Гц нет. В третьих, хорошо помогает заземление общего провода схемы. В четвертых помогает хороший ФНЧ на входе, не пропускающий туда сигналов с частотами, выше звуковых (ну, или ближнего ультразвука).

Еще лучше, когда все эти меры применены в комплексе, но и одной из них, обычно, хватает для снижения модуляционных помех до приемлемых значений.

_________________
Кто мешает тебе выдумать порох непромокаемый? (К. Прутков, мысль № 133)


Вернуться наверх
 
Не в сети
 Заголовок сообщения: Re: Винил-корректор
СообщениеДобавлено: Вс апр 07, 2019 17:07:09 
Друг Кота
Аватар пользователя

Карма: 127
Рейтинг сообщений: 6124
Зарегистрирован: Вс дек 25, 2011 18:43:00
Сообщений: 24323
Откуда: г.Москва
Рейтинг сообщения: 0
afz писал(а):
Товарищи не понимают.

..товарищи как раз-то понимают.. :)
afz писал(а):
Шнурок от проигрывателя к усилителю-корректору, кроме всего прочего, работает еще и антенной. На нем наводится какие-то радиосигналы

..на входе любого (ну, практически любого) корректора имеется конденсатор, который в совокупности с емкостью монтажа и кабеля образует банальный ФНЧ первого порядка с частотой среза уж точно меньше 50кГц (этим конденсатором выравнивают АЧХ корректора в области высоких частот) - так что тут - пальцем в небо..к тому же, здесь мы имеем дело больше с электрической составляющей поля, нежели с магнитной, поэтому влияние его на чувствительные к этому элементы минимально..опять таки, самый страшный эффект от этого - прямое детектирование сигнала (проявляется в виде "пения") в тракте на нелинейностях ВАХ полупроводника имеет место быть только при наводках от АМ трансмиттеров, коих сейчас в России практически не осталось, ФМ передатчики в силу существенно больших частот и иного принципа модуляции не оказывают такого воздействия. Продукт воздействия таких помех на устройство - повышенный уровень интермодуляционных искажений. Борьба - только экранирование устройства, других способов не существует в силу физики самого процесса..
afz писал(а):
Сетевой шнур - тоже антенна. Или, скорее, противовес. На нем тоже что-то наводится. Только вот оно ведет себя по-разному в разные моменты времени.

..то, что на нем наводится, осекается самим трансформатором, ибо индуктивность и емкость его первичной обмотки выполняет функцию аналога LC фильтра с очень низкой частотой среза (несколько сотен герц) так что тут - тоже пальцем в небо - итого, уже два раза.. :)
afz писал(а):
Лекарство от этого давно известно. Это, во-первых, экран между сетевой и вторичными обмотками. Его ставят для борьбы именно с этим эффектом, а не для отсечения каких-то мифических помех из сети.

..нет - экран ставят именно для отсечения этих самых мифических помех - между первичной и вторичной обмотками существует емкостная связь, экран эту связь устраняет..не важно, что коэффициент этой связи много меньше 1..так что оопять пальцем в небо, итого - третий раз..


afz писал(а):
На вершинах синусоиды, когда диоды выпрямителя открыты, этот противовес через межобмоточную емкость подключен к кузову преда, а в остальное время, когда диоды закрыты, эта цепь, что называется, висит в воздухе. Таким образом, за период сетевого напряжения дважды меняется эффективность этой самой системы "антенна-противовес". И, соответственно, наведенное ВЧ-напряжение оказывается сильно промодулированным по амплитуде. Далее оно детектируется на нелинейностях схемы и рычит в динамиках.

..вы описали механизм возникновения мультипликативной помехи, которая имеет такое же отношение к исходной жалобе /-/ekit, как килограмм к метру.. :) ..причем здесь мультипликативная помеха, когда у человека банальный фон с частотой питающей сети..?.. :dont_know:

..учите матчасть.. :) ..а про "вершину синусоиды" - улыбнуло..))


Вернуться наверх
 
Не в сети
 Заголовок сообщения: Re: Винил-корректор
СообщениеДобавлено: Вс апр 07, 2019 19:28:00 
Опытный кот
Аватар пользователя

Карма: 19
Рейтинг сообщений: 26
Зарегистрирован: Ср мар 15, 2017 23:40:22
Сообщений: 898
Рейтинг сообщения: 0
Пробовал двигать включенный коррректор по отношению к головке - изменений нет. Сейчас я вытащил плату из корпуса и запитал от батареек. Вот тут начинается реальная магия вне Хогварца: значит отдельно плату включаю (на батарейках) - гул неимоверный. Странно... вчера такого небыло. Так главное провод то, от проигрывателя, нормальный - двойной экранированный, каждый канал в своём экране. Странно это...

Добавлено after 43 minutes 46 seconds:
попробовал заземлить сердечник трансформатора - гул пропал!!!

_________________
Андрей осторожно взял у нее коробочку и с удивлением
убедился, что это радиоприемник.
- Вот это да! - пробормотал он - Неужели детекторный?
(братья Стругацкие, Град обреченный)


Вернуться наверх
 
Не в сети
 Заголовок сообщения: Re: Винил-корректор
СообщениеДобавлено: Вс апр 07, 2019 20:49:58 
Друг Кота
Аватар пользователя

Карма: 107
Рейтинг сообщений: 3801
Зарегистрирован: Пн фев 09, 2009 22:19:49
Сообщений: 24312
Откуда: Когда-то был прекрасный город для людей
Рейтинг сообщения: 0
Похоже, что у тебя неправильно выбраны точки заземления.


Вернуться наверх
 
Показать сообщения за:  Сортировать по:  Вернуться наверх
Начать новую тему Ответить на тему  [ Сообщений: 158 ]    , , , 4, , , ,  

Часовой пояс: UTC + 3 часа


Кто сейчас на форуме

Сейчас этот форум просматривают: Smen и гости: 20


Вы не можете начинать темы
Вы не можете отвечать на сообщения
Вы не можете редактировать свои сообщения
Вы не можете удалять свои сообщения
Вы не можете добавлять вложения

Найти:
Перейти:  


Powered by phpBB © 2000, 2002, 2005, 2007 phpBB Group
Русская поддержка phpBB
Extended by Karma MOD © 2007—2012 m157y
Extended by Topic Tags MOD © 2012 m157y